法艺花园

2020-2-20 19:18:12 班华斌律师 管理员 发布者 01848
法规索引
发布部门: 国家统计局
发布文号: -
发布日期: -
实施日期: -
法规效力: 有效
废替修文件: -
失效日期: -

马上注册,获得更多功能使用权限。

您需要 登录 才可以下载或查看,没有帐号?立即注册

x
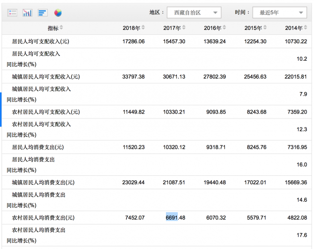
西藏2018年城乡居民收支数据
西藏2018年城镇单位在岗职工平均工资
西藏自治区2017-2019年按行业分城镇单位就业人员平均工资
2016 财政部关于印发《中央和国家机关工作人员赴地方差旅住宿费标准明细表》的通知

西藏2018年城乡居民收支数据.png

250.15 KB

西藏2018年城镇单位在岗职工平均工资.png

381.67 KB



240331
分享至 : QQ空间
0 人收藏
发新帖
您需要登录后才可以回帖 登录 | 立即注册